Ports and User Elements
Page explaining the camera ports and user elements.
Camera shown without attached lens.
FRONT

BACK

(1) Status LED
(2) Activity LED
(3) LEMO Input Connector (connects to NavBox)
SIDES

(4) ON/OFF Switch (Only used to save settings after changes were made. See Changing Camera Settings)
(5) Micro HDMI Connector
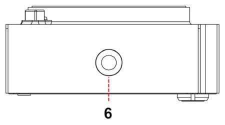
BOTTOM

(6) 1/4"-20 Mounting Thread
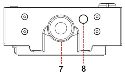
TOP

(7) Settings Wheel
(8) MENU Button